
Зарядные устройства для аккумуляторов – одна из самых важных составляющих электрических установок автомобильной техники. Качественная зарядка обеспечивает долговечность и надежность работы автомобильного аккумулятора, при этом позволяя сэкономить средства на регулярной замене неисправного элемента. Рассмотрим принципиальные схемы и особенности работы эффективных зарядных устройств.
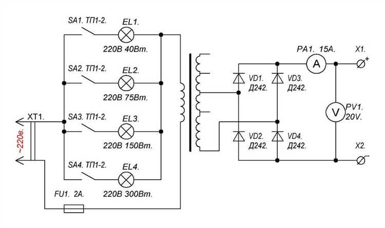
Наиболее простая схема зарядки аккумулятора включает в себя трансформатор с автоматическим управлением напряжением, выпрямитель, тиристорный регулятор и защитные диоды. Однако, для получения мощного зарядного устройства с высокой работоспособностью и универсальными функциями нужно учитывать ряд моментов, таких как выбор компонентов, габаритная мощность, импульсное зарядное устройство и организация работы в полупериоде.
Использование scr-транзистора, например, tl494, позволит создать эффективное зарядное устройство с регулируемой мощностью. Правильно подобранный резистор и диоды помогут предотвратить выход из строя важных компонентов платы. Важно помнить, что самодельные зарядные устройства требуют особого подхода к ремонту и обслуживанию, поэтому при сборке необходимо соблюдать все принципы безопасности и хранения аппаратов к себе в помощь.
Изучите основные принципы работы

Основной принцип работы основывается на том, что при подключении аккумулятора к зарядному устройству происходит формирование импульсов тока на базе полупериодов переменного напряжения тиристорного трансформатора. При этом происходит контроль напряжения и тока, подаваемых на аккумулятор, что позволяет его бережно заряжать и продлевает срок службы.
Устройство зарядного устройства на тиристорном трансформаторе обычно включает в себя функциональное устройство для контроля напряжения и тока, вольтметр и амперметр для отслеживания выходного напряжения и тока, а также защитой от короткого замыкания (КЗ).
Следует обратить внимание на габаритную размерность устройства, хорошо подойдут компактные размеры зарядного устройства, так как их удобно использовать в домашних условиях или на автомобиле.
В схеме также важно учесть возможность регулирования времени зарядки, что позволит более точно настроить процесс зарядки под каждый конкретный аккумулятор.
Изучив основные принципы работы эффективной схемы зарядного устройства на тиристорном трансформаторе, Вы сможете без геморроя использовать его для зарядки своих аккумуляторов, будь то для автомобильной батареи или других устройств.
Как купить б/у бензопилу, а не геморрой

При покупке б/у бензопилы всегда есть определённые риски. Этой проблеме можно избежать, если внимательно проверить состояние устройства перед покупкой. В данном разделе мы расскажем, на что стоит обратить внимание при выборе б/у бензопилы, чтобы избежать неприятных сюрпризов.
Особенности проверки б/у бензопилы:
1. Проверьте состояние корпуса и осмотрайте на наличие повреждений.
2. Включите бензопилу и убедитесь, что двигатель запускается без проблем и работает стабильно.
3. Проверьте режимы работы и управление – все кнопки должны функционировать без сбоев.
4. Осмотрите зарядное устройство и аккумуляторы на наличие повреждений и следов износа.
5. Убедитесь, что все переключатели и кнопки на бензопиле работают надежно.
6. Проверьте наличие всех необходимых аксессуаров (зарядное устройство, резервный аккумулятор и т.д.).
7. Обратите внимание на достаточную мощность и функциональное состояние бензопилы, чтобы долго пользоваться устройством.
Учитывайте эти рекомендации при выборе б/у бензопилы, чтобы избежать нежелательных проблем в процессе эксплуатации.
Выберите надёжные продавцы

Если вы решили купить зарядное устройство для аккумуляторов, то выбор надежного продавца играет ключевую роль. Проверьте рейтинг продавца, отзывы других покупателей и наличие гарантийных обязательств.
Будьте внимательны при выборе продавца, избегайте сомнительных площадок и предпочитайте проверенные интернет-магазины. Это поможет избежать недобросовестных продавцов и гарантировать вам качественное устройство.
Куда смотреть
При проверке зарядного устройства важно обращать внимание на следующие основные параметры:
— Пользователи xd, gorenje, ts18 можете использовать вольтметр для проверки напряжения на аккумуляторе. Если напряжение не включается или находится на минимальных значениях, возможно, была нарушена полярность при подключении.
— При проверке зарядки наличие регулировки напряжения — это важный момент. Нужно обращать внимание на работу тиристорного регулятора в полупериоде.
— При подпайке платы пользоваться автоматическим зарядным устройством topway и приставкой — крайне удобно. Можете использовать дисплей с параметрами, чтобы наладить нужные режимы зарядки.
— В случае использования вторичной батареи 12В, естественно обращать внимание на рабочую габаритную характеристику зарядного устройства.
— Важно, чтобы защита от переполюсовки работала оперативно, чтобы не иметь геморрой с перепайкой и нарушением целостности платы.
Подробный анализ состояния товара
При проверке зарядного устройства возможны следующие неисправности:
- Отсутствие импульсного действия. В этом случае может потребоваться замена тиристорного или транзисторного элемента.
- Полное отсутствие зарядного тока при подключении. Возможно, произошел КЗ на плате зарядного устройства.
- Автоматическое включение устройства и недостаточное напряжение на выходе. Возможно, проблема связана с неисправностью микросхемы управления зарядом, например, TL494.
- Неисправность трансформатора или тиристора в устройстве.
- Неработа устройства при подключении к источнику питания. Возможно, неисправен конденсатор на плате зарядного устройства.
- Отсутствие инструкции по пользованию. В данном случае желательно обратиться к производителю для получения подробной информации.
При обнаружении вышеперечисленных проблем рекомендуется обратиться к специалисту по ремонту зарядных устройств для дальнейшей проверке и исправлению неисправностей.
Видео:
Надежное зарядное для автомобильного аккумулятора (Ака Касьян)









